本機器には電源、回線、パソコンなどを接続します。ケーブルの長さが決まっているものもあるので、ポイントとなる点をいくつかあげます。
実際の接続は、「つなぎかたガイド」を参照してください。
→ 電源コンセントを確保しましょう。
→ 子機を設定するときは、本機器のそばで設定しましょう。
警告
注意
◆補足◆
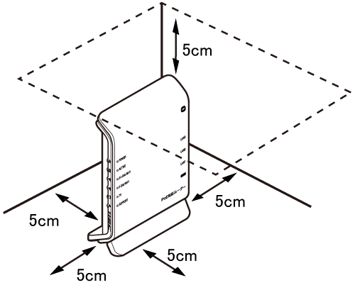
本機器は、前後左右5cm、上5cm以内に、パソコンや壁などのものがない場所に設置してください。
壁掛けの場合は壁掛け面を除きます。
なお、本機器を中継機/子機としてご使用になる場合も同様に設置してください。

警告ACアダプタを接続および設置する際は、以下のことにご注意ください。
注意

◆補足◆



◆補足◆

◆補足◆
推奨:丸頭 木ネジ M 3.1×16




◆補足◆

本機器に接続した端末の情報や、工場出荷状態から変更した無線の暗号化キーなどの情報が、第三者に漏洩しないように本機器の初期化を行い、設定情報を削除してから返却することをお勧めします。